Мачтовая (столбовая) трансформаторная подстанция |
Компания «ЭЛМАСТЕР» предлагает приобрести трансформаторные подстанции по приемлемой цене – от 85 000 руб. за 1 штуку (с НДС). Обеспечить электроэнергией любой населенный пункт, отдельный цех или всё предприятие можно с помощью одной или нескольких трансформаторных подстанций. Целесообразность различных трансформаторных подстанций объясняется обеспечением требуемого уровня надежности электроснабжения.
Предназначение мачтовых трансформаторных подстанций — электроснабжение фермерских хозяйств, огородных и садовых участков, отдельных населенных пунктов или небольших объектов.
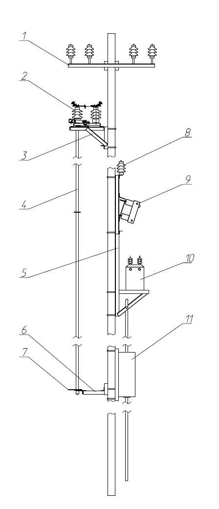
Столбовая трансформаторная подстанция


| Мощность | 1,25-10 кВА |
| Напряжение на высокой стороне | 6 или 10 кВ |
| Напряжение на низкой стороне столбовой трансформаторной подстанции | 0,23 кВ |
Обозначения:
- Кронштейн верхний;
- Разъединитель РЛНД;
- Кронштейн РЛНД;
- Комплект соединительный;
- Рама;
- Кронштейн привода;
- Привод;
- Ограничитель перенапряжения ОПН (или разрядник РВО);
- Предохранитель ПКБ (или ПКТ);
- Трансформатор (однофазный);
- Ящик электрический.
Примечание: максимальное сечение железобетонной опоры 285х330 мм (см. рис.).

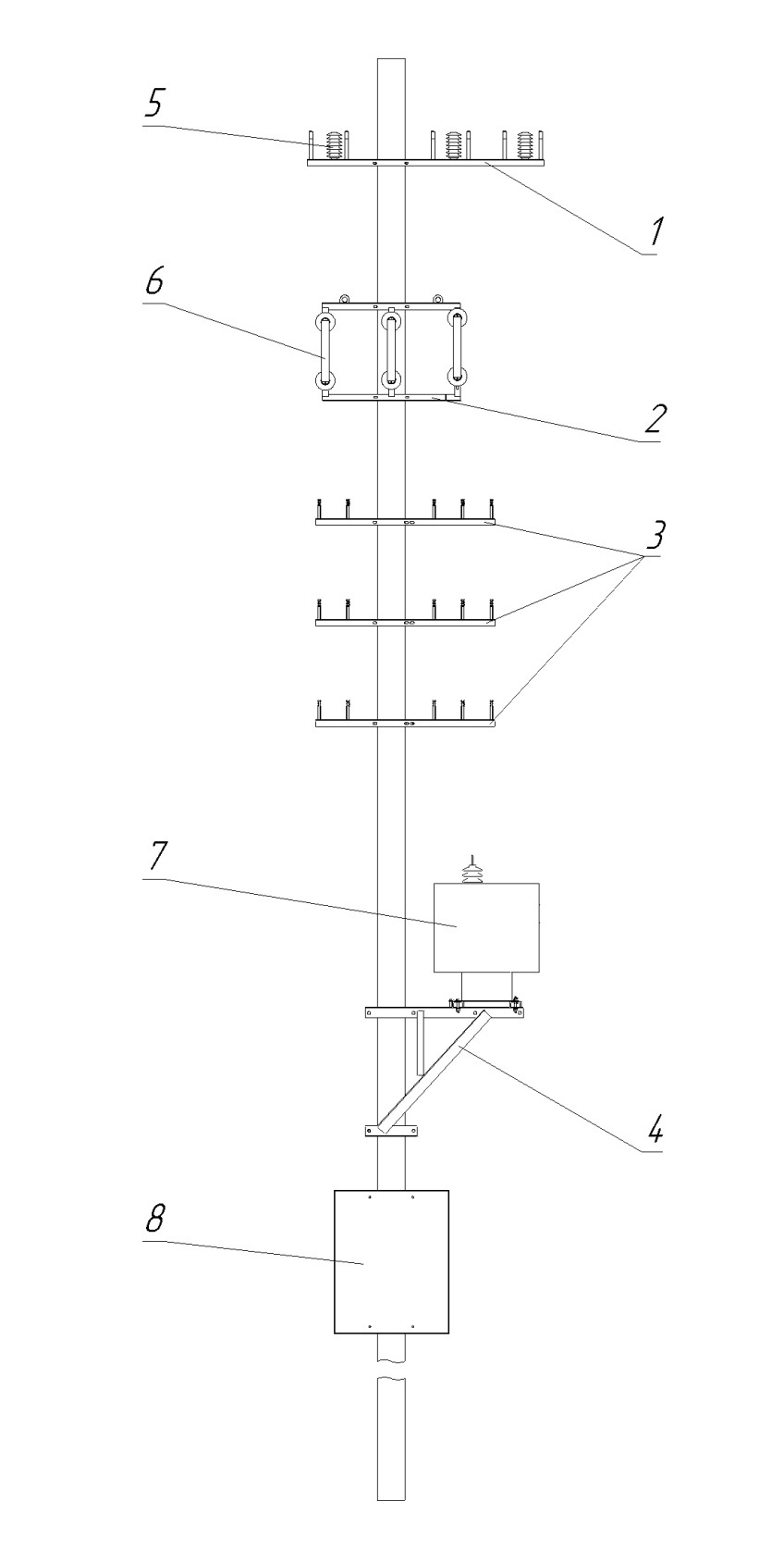
Мачтовая трансформаторная подстанция (одностолбовая)


| Мощность | 25-100 кВА |
| Напряжение на высокой стороне | 6 или 10 кВ |
| Напряжение на низкой стороне | 0,4 кВ |
Обозначения мачтовой трансформаторной подстанции:
- Кронштейн верхний;
- Кронштейн предохранителей;
- Кронштейн средний;
- Кронштейн трансформатора;
- Ограничитель перенапряжения ОПН (или разрядник РВО);
- Предохранитель ПКТ;
- Трансформатор (трехфазный);
- Ящик электрический.
Примечания:
- Разъединитель РЛНД и привод поставляются в составе подстанции;
- Кронштейн РЛНД, комплект соединительный и кронштейн привода заказываются дополнительно;
- Максимальное сечение железобетонной опоры 260х280 мм
(см. рис.).

Мачтовая трансформаторная подстанция (двухстолбовая)


| Мощность | 160-250 кВА |
| Напряжение на высокой стороне | 6 или 10 кВ |
| Напряжение на низкой стороне | 0,4 кВ |
Обозначения:
- Кронштейн верхний;
- Кронштейн предохранителей;
- Кронштейн средний;
- Балка трансформатора;
- Площадка обслуживания;
- Ограничитель перенапряжения ОПН (или разрядник РВО);
- Предохранитель ПКТ;
- Трансформатор (трехфазный);
- Ящик электрический;
- Ящик уличного освещения (заказывается дополнительно).
Примечания:
- Разъединитель РЛНД и привод поставляются в составе подстанции;
- Кронштейн РЛНД, комплект соединительный и кронштейн привода заказываются дополнительно.
- Максимальное сечение железобетонных опор и расстояние между опорами указано на рисунке.

140104, Московская обл, г. Раменское, ул. Десантная, д. 10
с 9.00 до 18.00
603822662